
Qzone
微博
微信
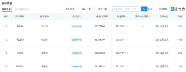
12月6日消息,比亚迪汽车工业有限公司申请注册“趣野咖”“悦己咖”“嗨速咖”“潮玩咖”商标,国际分类均为运输工具,商标状态均为注册申请中。
企查查显示,比亚迪汽车工业有限公司成立于2006年8月3日,法定代表人为王传福,注册资本为37.58亿美元。该公司由比亚迪股份有限公司持股96.79%,BYD (H.K.) CO., LIMITED持股3.21%。
乐居财经 彦杰
【以上内容转自“乐居财经网”,不代表本网站观点。 如需转载请取得乐居财经网许可,如有侵权请联系删除。】
延伸阅读: